Maite filter
旋流除砂器免费定制方案 免费到厂考察 免费获取报价!
产品说明:旋流除砂器被广泛应用于化工、环保、食品、医药等许多工业部门,在给水处理领域实现除污,降浊,固液分离等,效果显著。水力旋流的工作原理及设计自100多年前就已经提出,柱形旋流除砂器就是利用这种原理,是满足水力旋流器实现固液分离的应用实例。它是利...
香蕉视频IOS在线观看过滤设备携手各行业打造满足香蕉视频APP污污软件免费需求产品的保障
旋流除砂器被广泛应用于化工、环保、食品、医药等许多工业部门,在给水处理领域实现除污,降浊,固液分离等,效果显著。
水力旋流的工作原理及设计自100多年前就已经提出,柱形旋流除砂器就是利用这种原理,是满足水力旋流器实现固液分离的应用实例。它是利用离心分离和力沉降的实现固液分离的水处理设备,主要用来清除地下水和包括地下热水及其它水源中的固体颗粒,适用于水源热泵系统,中央空调循环冷却水,冷冻水系统,冬季冷暖循环水系统,工业冷却循环水系统等。
设备原理:
旋流除砂器是根据离心沉降和密度差的原理,当水流在一定的压力从除砂器进口以切向进入设备后,产生强烈的旋流运动,由于污水密度不同,在离心力、向心浮力、流体拽力的作用下,因受力不同,从而使密度低的清水上升,有溢流口排出,密度大的污由底部排污口排出,从而达到除污的目的。在一定范围和条件下,除砂器水压越大,除污率越高,并可多台并联使用。
设备特点:
1.结构简单、成本低廉,易于安装和操作。
2.维护费用低,维护方便,几乎不需要维护。
3.与扩大管、缓冲箱等除污设备相比,具有体积小、处理能力大,节省现场空间等优点。
4.可以在不间断供水过程中清除水中的污粒。
5.避免了其他除污方式存在水质二次污染的现象。
6.除污效率高,效率高达96%以上。
7.适用范围广,细沙粒到大颗粒污都能使用。
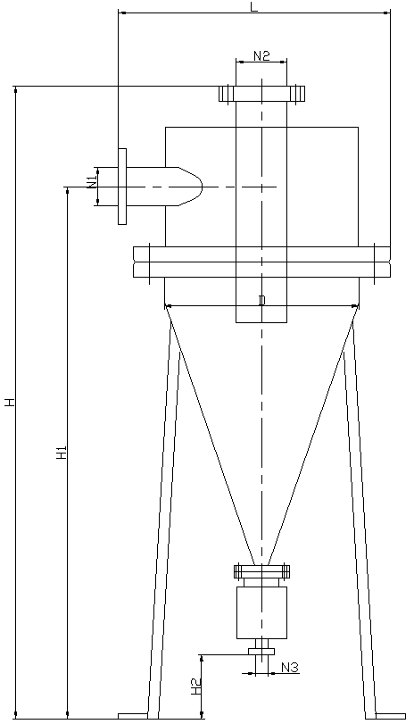
尺寸简图
选型参数:
型号 | 处理量 | 进水压力 | 分离径粒(mm) | 分离粒度 | 平均除污率(%) | 进水口D2 | 出水口D2 | 排污口D2 |
MCS-25×** | 20 | 0.15-0.4 | 1.5 | 30-70 | ﹥96 | 25 | 40 | 20 |
MCS-40×** | 30 | 0.15-0.4 | 2 | 40-100 | ﹥96 | 40 | 50 | 20 |
MCS-50×** | 50 | 0.15-0.4 | 3 | 40-100 | ﹥95 | 50 | 80 | 25 |
MCS-80×** | 80 | 0.15-0.4 | 3 | 40-100 | ﹥92 | 80 | 100 | 25 |
MCS-100×** | 100 | 0.15-0.4 | 6 | 50-150 | ﹥90 | 100 | 125 | 40 |
MCS-125×** | 125 | 0.15-0.4 | 10 | 74-200 | ﹥90 | 125 | 150 | 65 |
MCS-150×** | 150 | 0.15-0.4 | 10 | 74-200 | ﹥90 | 150 | 200 | 65 |
MCS-200×** | 200 | 0.15-0.4 | 16 | 74-220 | ﹥90 | 200 | 250 | 80 |
MCS-300×** | 300 | 0.15-0.4 | 16 | 80-230 | ﹥90 | 250 | 300 | 80 |
1)正常工作时,需开启进、出水阀门、关闭排污阀;
2)当储污缸在存污到一定高度时,应排污。排污时打开排污阀,直到清水流出;
3)排污完毕后,关闭排污阀即可;
4)如排污压力不足,可关闭出水处的阀门;
香蕉视频IOS在线观看过滤设备携手各行业打造满足香蕉视频APP污污软件免费需求产品的保障
香蕉视频IOS在线观看过滤设备携手各行业打造满足香蕉视频APP污污软件免费需求产品的保障